Announcement

Collapse
No announcement yet.

LZ Wiring Pinouts

Collapse
X
Collapse
  •  

  • LZ Wiring Pinouts

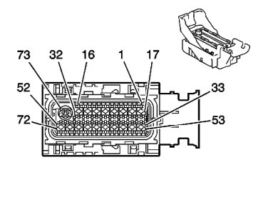
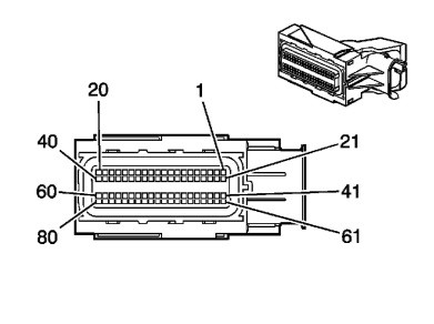
    This is from a 07 Saturn Aura, so it might differ a bit from others. I can add whatever needs to be added to this, just let me know.

    Click image for larger version

Name:	LZ_C1_Connector_View.jpg
Views:	648
Size:	25.3 KB
ID:	427312
    Click image for larger version

Name:	LZ_C1_Pin1to32.jpg
Views:	276
Size:	78.3 KB
ID:	427316

    Click image for larger version

Name:	LZ_C1_Pin33to73.jpg
Views:	281
Size:	98.8 KB
ID:	427315

    Click image for larger version

Name:	LZ_C2_Connector_View.jpg
Views:	286
Size:	21.7 KB
ID:	427313

    Click image for larger version

Name:	LZ_C2_Pin1to24.jpg
Views:	290
Size:	70.7 KB
ID:	427314

    Click image for larger version

Name:	LZ_C2_Pin25to78.jpg
Views:	282
Size:	130.3 KB
ID:	427317
      Posting comments is disabled.

    Article Tags

    Collapse

    There are no tags yet.

    Latest Articles

    Collapse

    • LZ Wiring Pinouts
      by SappySE107
      This is from a 07 Saturn Aura, so it might differ a bit from others. I can add whatever needs to be added to this, just let me know.










      ...
      08-20-2024, 03:31 PM
    • LZ4 vs LZ9 Connecting Rods
      by SappySE107
      Too many resources have shown the rod length to be 5.9" for both motors. We have known for a long time that the 3900 LZ9 rod is 5.827" long from measurements, but the LZ4 was kind of a mystery even now in 2023. Maybe its out there, but most people want to build the bigger motor. However, there is something more to these motors than to think of them like bigger 2.8/3.1 motors. Unlike the 2.8 and 3.1, the difference is the stroke and rod, not stroke and pistons.

      Having both...
      05-27-2023, 06:52 AM
    • 3900 Engine Specifications
      by bszopi
      3900 Engine Mechanical Specifications Application Specification Metric English General Data Engine Type 60 degree V-6 Displacement 3.9L 238 cu in RPO LZ9 VIN 1 Bore 99 mm 3.90 in Stroke 84 mm 3.31 in Compression Ratio 9.8:1 Firing Order 123456 Sp...
      09-29-2010, 08:27 PM
    Working...
    X